首页
公司介绍
新闻中心
组织机构
服务理念
售后服务
联系我们
产品中心
jtgk.png

产品中心

Q41F-10S塑料法兰球阀

您的位置:阀门 - 球阀 - Q41F-10S塑料法兰球阀 更新时间:2024-07-27 09:07:53
Q41F-10S塑料法兰球阀
    • 质量安全:压力、材质、密封等全方位检测确保质量过关!
    • 价格比较:在相同品质的情况下,厂里直销,更具有优势!
    • 交货快捷:常规产品现货供应,生产加工销售一条龙服务!
      上海凯利科阀门竭诚为您提供安全可靠的Q41F-10S塑料法兰球阀成套技术方案,以及售前选型报价,售后技术指导、安装、调试服务!

    • 产品描述
    • 在线询价
    • 技术咨询
    Q41F-10S塑料法兰球阀Q41F-10S塑料法兰球阀

    Q41F-10S塑料法兰球阀适用于带腐蚀性介质的输送过程的截流,根据不同材质温度-14℃~100℃、-40℃~140℃。密封圈采用F4。耐腐性能优异,延长使用寿命。转动灵活、使用方便。整体式球阀泄漏点少,强度高,连接式球阀装拆方便。

    产品名称: 塑料法兰球阀 产品型号: Q41F-10S
    公称通径: DN15~DN200 结构形式: 球形
    公称压力: 1.6Mpa~4.0Mpa 连接方式: 法兰、外螺纹、承插焊
    适用温度: -20ºC~+180ºC~425ºC~550ºC 驱动方式: 手动、电动、气动
    阀体材质: PVDF、CPVC、UPVC、PVC、RPP 、ABS 制造标准: 国标GB、德国DIN、美国API、ANSI
    适用介质: 水、油、气体、腐蚀性液体等 生产厂家: 上海凯利科阀门有限公司

    产品说明

    Q41F-10S塑料法兰球阀适用于带腐蚀性介质的输送过程的截流,根据不同材质温度-14℃~100℃、-40℃~140℃。密封圈采用F4。耐腐性能优异,延长使用寿命。转动灵活、使用方便。整体式球阀泄漏点少,强度高,连接式球阀装拆方便。 球阀的安装使用: 两端法兰与管路连接时,要均匀拧紧螺栓,防止法兰变形造成泄漏。 顺时针方向旋转手柄为关闭,反之为开启。只可作断流、通流,不宜有流量调节。 含硬颗粒液体容易使球表面划伤。全部零件采用FRPP、PVDF、CPVC、UPVC、PVC、RPP 、ABS注塑件组装成型,耐腐蚀性能优良。

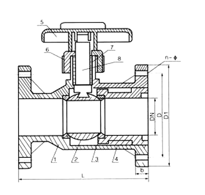
    零件材质表

    NO 名称 材质
    1 阀体 FRPP、PVDF、CPVC、UPVC、PVC、RPP 、ABS
    2 FRPP、PVDF、CPVC、UPVC、PVC、RPP、ABS
    3 密封圈 PTER、F4
    4 内塞 FRPP、PVDF、CPVC、UPVC、PVC、RPP
    5 手柄 ABS
    6 压紧螺母 FRPP、PVDF、CPVC、UPVC、PVC、RPP 、ABS
    7 密封 PTER、F4
    8 阀杆 FRPP、PVDF、CPVC、UPVC、PVC、RPP、ABS

    外形结构图

     

    主要外形连接尺寸

    DN D1 D L d n 公称压力
    HG JIS DIN ANSI HG JIS DIN ANSI HG JIS DIN ANSI PVDF RPP
    15 95 65 70 65 60 100 14 4 4 4 4 14 15 14 16 1.2 1
    20 105 75 75 75 70 120 16 4 4 4 4 14 15 14 16 1.2 1
    25 115 85 90 85 80 140 16 4 4 4 4 14 19 14 16 1.2 1
    32 135 100       160 16 4       18       1.2 1
    40 145 110 105 110 98 165 16 4 4 4 4 18 19 18 16 1.2 1
    50 160 125 120 125 120 180 18 4 4 4 4 18 19 18 19 1.2 1
    65 180 145 140 145 140 220 22 4 4 4 4 18 19 18 14 1.2 1
    80 195 160 150 160 152 250 25 4 8 8 4 18 19 18 14 1.2 1
    100 215 160 175 180 190 280 25 8 8 8 8 18 19 18 19 1.2 1
    125 245 210 210 210 216 320 30 8 8 8 8 18 23 18 22 1 0.8
    150 280 240 240 240 240 360 30 8 8 8 8 23 23 23 22 1 0.8
    200 335 295 295 295 298 400 35 8 12 8 8 23 23 23 22 0.8 0.8
    250 395 350 355 350 362 500 38 12 12 12 12 23 23 23 22 0.8 0.6
    300 455 400 400 400 432 600 40 12 16 12 12 23 25 23 25 0.8 0.5
    注:可配电动执行器或气动执行器。

    声明:【Q41F-10S塑料法兰球阀】规格型号、结构尺寸由上海凯利科阀门有限公司提供,如何选择适用的Q41F-10S塑料法兰球阀产品,使之在工艺控制中安全可靠、经济适用,可致电我司销售部门及技术部门,我们将在最短的时间内为您解答!

    上一篇:Q41F塑料球阀 下一篇:PVC塑料球阀

    Copyright ©2011-2022 上海凯利科阀门有限公司,版权所有。 沪ICP备11046016号-29 网站地图

    销售电话:021-31001158

    手机号码:13816746668 陈国辉/经理

    电子邮件:klkvalves@126.com@126.com

    主营产品:球阀,闸阀,蝶阀,截止阀,止回阀,调节阀

    本周热门:气动球阀气动蝶阀气动刀闸阀气动调节阀电动球阀电动蝶阀电动刀闸阀电动调节阀不锈钢球阀不锈钢闸阀不锈钢截止阀不锈钢止回阀不锈钢电磁阀高压电磁阀高压球阀波纹管截止阀

    官方网址:www.fm058.com