首页
公司介绍
新闻中心
组织机构
服务理念
售后服务
联系我们
产品中心
jtgk.png

产品中心

Q41F三片式法兰球阀

您的位置:阀门 - 球阀 - Q41F三片式法兰球阀 更新时间:2024-07-27 09:07:00
Q41F三片式法兰球阀
    • 质量安全:压力、材质、密封等全方位检测确保质量过关!
    • 价格比较:在相同品质的情况下,厂里直销,更具有优势!
    • 交货快捷:常规产品现货供应,生产加工销售一条龙服务!
      上海凯利科阀门竭诚为您提供安全可靠的Q41F三片式法兰球阀成套技术方案,以及售前选型报价,售后技术指导、安装、调试服务!

    • 产品描述
    • 在线询价
    • 技术咨询
    Q41F三片式法兰球阀Q41F三片式法兰球阀

    Q41F三片式法兰球阀适用于PN1.0~6.4MPa,工作温度-29~180℃(密封圈为增强聚四氟乙烯)或-29~300℃(密封圈为对位聚苯)的各种管路上,用于截断或接通管路中的介质。选用不同的材质可分别适用于水、蒸汽、油品、硝酸、醋酸等多种介质。

    产品名称: 三片式法兰球阀 产品型号: Q41F
    公称通径: DN6~DN100 结构形式: 球形
    公称压力: 1.6Mpa~6.4Mpa(W.O.G) 连接方式: 法兰
    适用温度: -20~232℃~350℃ 驱动方式: 手动、电动、气动
    阀体材质: 铸钢、不锈钢 制造标准: 国标GB、德国DIN、美国API、ANSI
    适用介质: 水、油、气及某些腐蚀性液体 生产厂家: 上海凯利科阀门有限公司

    产品说明

    Q41F三片式法兰球阀适用于PN1.0~6.4MPa,工作温度-29~180℃(密封圈为增强聚四氟乙烯)或-29~300℃(密封圈为对位聚苯)的各种管路上,用于截断或接通管路中的介质。选用不同的材质,可分别适用于水、蒸汽、油品、硝酸、醋酸等多种介质。

    执行标准

    设计规范:GB/T 12237
    结构长度:GB/T 12221
    连接法兰:JB/T 79,HG20592,GB9113,ANSI
    试验与检验:JB/T 9092,GB/T13927
    压力-温度:GB/T 9131
    产品标识:GB/T 12220

    产品特征。

    公称压力 1.6-6.4MPa
    适用稳定范围 -20~232℃~350℃
    适用介质 水、油、气及某些腐蚀性液体(W。O。G)
    对焊标准(BW) GB12224.ANSIB16.25

    主要零件材料

    零件名称 材质
    不锈钢 碳钢
    螺栓 不锈钢SS304 碳钢
    弹簧垫圈 不锈钢SS304 不锈钢SS304
    螺母 不锈钢SS304 碳钢
    阀盖 不锈钢CF8/CF8M 碳钢WCB
    阀体 不锈钢CF8/CF8M 碳钢WCB
    球体 不锈钢CF8 不锈钢CF8
    密封圈 聚四氟乙烯PTFE 聚四氟乙烯PTFE
    阀杆 不锈钢SS316 不锈钢SS304
    填料 聚四氟乙烯PTFE 聚四氟乙烯PTFE
    压紧螺母 不锈钢SS316 不锈钢SS304
    弹簧垫圈 不锈钢SS304 不锈钢SS304
    螺母 不锈钢SS304 不锈钢SS304
    手柄 不锈钢SS304 不锈钢SS304

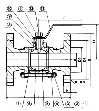
    外形结构图

    主要连接尺寸及重量

    SIZE 1/2" 3/4" 1" 1-1/4" 1-1/2" 2" 2-1/2" 3" 4"
    d 15 20 25 32 38 50 65 76 100
    L 130 150 160 180 200 230 290 310 350
    D 95 105 115 135 145 160 180 195 230
    D1 65 75 85 100 110 125 145 160 190
    D2 45 55 65 78 85 100 120 135 160
    b 14 16 16 18 18 20 22 24 24
    f 2 2 2 3 3 3 3 3 3
    H 75 95 90 110 130 140 170 180 250
    w 130 140 140 170 200 220 350 350 550
    n-do 4-14 4-14 4-14 4-18 4-18 8-18 8-18 8-18 8-22
     

    声明:【Q41F三片式法兰球阀】规格型号、结构尺寸由上海凯利科阀门有限公司提供,如何选择适用的Q41F三片式法兰球阀产品,使之在工艺控制中安全可靠、经济适用,可致电我司销售部门及技术部门,我们将在最短的时间内为您解答!

    Copyright ©2011-2022 上海凯利科阀门有限公司,版权所有。 沪ICP备11046016号-29 网站地图

    销售电话:021-31001158

    手机号码:13816746668 陈国辉/经理

    电子邮件:klkvalves@126.com@126.com

    主营产品:球阀,闸阀,蝶阀,截止阀,止回阀,调节阀

    本周热门:气动球阀气动蝶阀气动刀闸阀气动调节阀电动球阀电动蝶阀电动刀闸阀电动调节阀不锈钢球阀不锈钢闸阀不锈钢截止阀不锈钢止回阀不锈钢电磁阀高压电磁阀高压球阀波纹管截止阀

    官方网址:www.fm058.com