



J61W,J61Y焊接式针型截止阀
J61W/J61Y焊接式针型截止阀密封性良好,一般用于较小流量,适用于较高压力的气体或液体(如蒸汽、油品)介质的密封。使用寿命长,即使密封面损坏后,也只需要更换易损零件,即可继续使用。广泛用于石油、化工、电厂、冶金等行业。
| 产品名称: | 焊接式针型截止阀 | 产品形号: | J61W/J61Y |
| 公称通径: | DN3~DN25 | 结构形式: | 截止式 |
| 公称压力: | 16.0MPa~32.0MPa | 连接方式: | 焊接式 |
| 适用温度: | -29ºC~+550ºC | 驱动方式: | 手轮 |
| 阀体材质: | WCB、铸钢、碳钢、不锈钢 | 标准: | 国标GB、德国DIN、美国API、ANSI |
| 适用介质: | 水、油、蒸汽、气体、液体 | 生产厂家: | 上海凯利科阀门有限公司 |
| 零件名称 | 阀杆、阀盖、螺栓 | 阀杆、阀瓣密封圈 | 填料 | 垫片 | 手柄 |
| J61Y-170V | 铬镍不锈钢 | 不锈钢 | 聚四氧乙稀、柔性石墨PTEF | 橡胶石棉板 |
优质碳钢 |
|
型号 Type |
公称压力 (MPa) |
试验压力PS(MPs) | 工作压力(MPa) | 工作温度(℃) | 适用介质 | ||
| 壳体Shell |
密封 (液) |
密封 (气)Seal |
|||||
| J61Y-170V | 24.0 | 7.0 | 17.6 | 0.6 | 17.0 | V≤570℃ | 电站、石油气、水、油品等 |
| FJ61Y-160p | 24.0 | 16.0 | 17.6 | 0.6 | 16.0 | P≤200℃ | |
| T61Y-320 | 24.0 | 16.0 | 17.6 | 0.6 | 16.0 | C≤200℃ | |
| 24.0 | 16.0 | 17.6 | 0.6 | 16.0 | C≤200℃ | ||
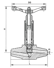
| 公称直径(mm) | 尺寸(mm) | 重量(Kg) | ||||
| Do | L | H | H1 | D | ||
| 6 | 80 | 100 | 100 | 110 | 8 | 1.20 |
| 10 | 80 | 120 | 100 | 110 | 8 | 1.50 |
| 15 | 100 | 130 | 120 | 130 | 12 | 1.70 |
| 20 | 120 | 145 | 150 | 165 | 15 | 2.60 |
| 25 | 140 | 170 | 165 | 190 | 18 | 4.30 |
声明:【J61W,J61Y焊接式针型截止阀】规格型号、结构尺寸由上海凯利科阀门有限公司提供,如何选择适用的J61W,J61Y焊接式针型截止阀产品,使之在工艺控制中安全可靠、经济适用,可致电我司销售部门及技术部门,我们将在最短的时间内为您解答! |