
H12W,H12H立式内螺纹止回阀
H12W、H12H立式内螺纹止回阀的功能是用来防止管路中的介质倒流。止回阀属于自动阀类,启闭件靠流动介质的力量自行开启 或关闭。止回阀只用于介质单向流动的管路上,阻止介质回流,以防发生事故。适用介质为:水、油品、蒸汽、酸性介质等。
| 产品名称: | 立式内螺纹止回阀 | 产品型号: | H12W、H12H |
| 公称通径: | DN15~DN50 | 结构形式: | 立式 |
| 公称压力: | 1.6MPa~2.5MPa~4.0MPa~6.4MPa | 连接方式: | 内螺纹 |
| 适用温度: | -40ºC~+180ºC | 驱动方式: | 介质推动 |
| 阀体材质: | 铸钢、不锈钢 | 标准: | 国标GB、德国DIN、美国API、ANSI |
| 适用介质: | 水、油品、蒸汽 | 生产厂家: | 上海凯利科阀门有限公司 |
| 公称压力 | PN | 1.6, 2.5, 4.0, 6.4 | MPa |
| 强度试验压力 | PT | 2.4, 3.8, 6.0, 7.6 | |
| 低压气密封试验压力 | 0.6 | ||
| 高压气密封试验压力 | 2.0, 3.0, 4.8, 7.6 | ||
| 适用介质 | H12W-(16-64)C | H12W-(16-64)P | H12W-(16-64)R |
| 水、油品、汽 | 硝酸类 | 醋酸类 | |
| 适用温度 | -40~180 | ||
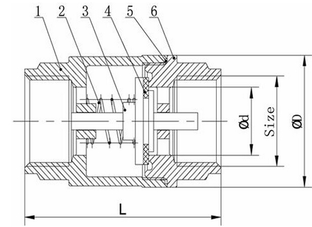
| 序号NO. | 零件名称 | 材质 |
| 1 | 阀体 | 不锈钢CF8M/CF8 |
| 2 | 弹簧 | 不锈钢316/304 |
| 3 | 阀瓣 | 不锈钢CF8M/CF8 |
| 4 | 螺塞垫片 | 聚四氟乙烯PTFE |
| 5 | 螺塞 | 不锈钢316/304 |
| 6 | 阀盖 | 不锈钢CF8M/CF8 |
| 公称通径 DN(mm) | D | H | L |
| 15 | 1/2" | 73 | 43 |
| 20 | 3/4" | 85 | 48 |
| 25 | 1" | 95 | 55 |
| 32 | 1-1/4" | 113 | 73 |
| 40 | 1-1/2" | 138 | 86 |
| 50 | 2" | 156 | 98 |
声明:【H12W,H12H立式内螺纹止回阀】规格型号、结构尺寸由上海凯利科阀门有限公司提供,如何选择适用的H12W,H12H立式内螺纹止回阀产品,使之在工艺控制中安全可靠、经济适用,可致电我司销售部门及技术部门,我们将在最短的时间内为您解答! |