首页
公司介绍
新闻中心
组织机构
服务理念
售后服务
联系我们
产品中心
jtgk.png

产品中心

ZAZP,ZAZN 型电动直通单座调节阀

您的位置:阀门 - 调节阀 - ZAZP,ZAZN 型电动直通单座调节阀 更新时间:2024-07-27 09:07:27
ZAZP,ZAZN 型电动直通单座调节阀
    • 质量安全:压力、材质、密封等全方位检测确保质量过关!
    • 价格比较:在相同品质的情况下,厂里直销,更具有优势!
    • 交货快捷:常规产品现货供应,生产加工销售一条龙服务!
      上海凯利科阀门竭诚为您提供安全可靠的ZAZP,ZAZN 型电动直通单座调节阀成套技术方案,以及售前选型报价,售后技术指导、安装、调试服务!

    • 产品描述
    • 在线询价
    • 技术咨询
    ZAZP,ZAZN 型电动直通单座调节阀ZAZP,ZAZN 型电动直通单座调节阀

    ZAZP、ZAZN 型电动直通单座调节阀由电动执行机构与各种的阀体(单座、双座、套筒)组配而成,而具备了各种阀的特点。电动直通单座调节阀以单相交流 220V 电源为动力,接受统一的标准电信号 0~10mA DC 或 4~20mA DC,自动的控制阀门开度,达到对工作流量、压力、温度、液位等参数的自动控制,是生产过程自动调节的组成之一。广泛用于电力、冶金、轻工、食品、石油、化工等工业的自动控制中。

    产品名称: 电动直通单座调节阀 产品型号: ZAZP、ZAZN
    公称通径: DN15~DN200 结构形式: 单座
    公称压力: 1.6MPa~6.4MPa 连接方式: 法兰
    适用温度: -29ºC~+550ºC 驱动方式: 电动
    阀体材质: 灰铸铁、铸钢、不锈钢 标准: 国标GB、德国DIN、美国API、ANSI
    适用介质: 水、蒸汽、油品、液体、气体 生产厂家: 上海凯利科阀门有限公司

    产品说明

    ZAZP、ZAZN 型电动直通单座调节阀由电动执行机构与各种的阀体(单座、双座、套筒)组配而成,而具备了各种阀的特点。电动直通单座调节阀以单相交流 220V 电源为动力,接受统一的标准电信号 0~10mA DC 或 4~20mA DC,自动的控制阀门开度,达到对工作流量、压力、温度、液位等参数的自动控制,是生产过程自动调节的组成之一。广泛用于电力、冶金、轻工、食品、石油、化工等工业的自动控制中。

    主要性能参数

    型号 PN 工作压力/MPa 适用温度/℃ 输入信号/mA DC 输入电阻/Ω 电源电压及频率 不灵敏度/µA
    /V /Hz
    ZAZP-16
    ZAZN-16
    16 1.6 ≤200 0~10 4~24 200 250 220 50~60 ≤150 ≤240
    ZAZP-40
    ZAZN-40
    40 4.0 C、P:≤250;
    C、P:≤450(带散热片)
    ZAZP-63P
    ZAZN-63P
    63 6.3

    执行器参数

    型号 输入信号/mA DC 出轴推力/N 行程/mm 全行程时间/mm
    Ⅱ型 DKZ-310 0~10 4000 16 12.5
    25 30
    DKZ-410 6400 40 32
    60 48
    DKZ-510 16000 60 37
    100 62
    Ⅲ型 DKZ-3200 4~20 2500 16 10
    DKZ-3300 25 15.6
    DKZ-4400 6400 40 25
    DKZ-4500 60 37.5

    零部件材料

    型号 阀体、阀盖 阀芯、阀杆、阀座 垫片 填料
    ZAZP-16
    ZAZN-16
    HT200 1Cr18Ni9 石棉橡胶板 聚四氟乙烯
    ZAZP-40
    ZAZN-40
    ZG25 1Cr18Ni9 石棉橡胶板 聚四氟乙烯
    ZAZP-63P
    ZAZN-63P
    1Cr18Ni9 1Cr18Ni9 石棉橡胶板 聚四氟乙烯

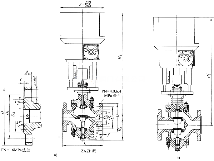
    外形结构图

     

    主要外形尺寸PN16-25

    DN D D1 D2 f b z×Φd t L
    25 115 85 65 2 16 4×Φ14 4 185
    32 135 100 78 2 18 4×Φ18 5 200
    40 145 110 85 3 18 4×Φ18 5 220
    50 160 125 100 3 20 4×Φ18 5 250
    65 180 145 120 3 20 4×Φ18 5 275
    80 195 160 135 3 22 8×Φ18 5 305
    100 215 180 155 3 24 8×Φ18 5 350
    125 245 210 185 3 26 8×Φ18 5 410
    150 280 240 210 3 28 8×Φ23 5 450
    200 335 295 265 3 30 12×Φ23 5 550
    250 405 355 320 3 32 12×Φ25 5 640
    300 460 410 375 4 34 12×Φ25 5 720

    主要外形尺寸PN40

    DN D D1 D2 f D6 f1 b z×Φd H2 H1 H1ˊ
    25 190 115 85 65 58 4 16 4×Φ14 117 670 752
    32 210 135 100 75 66 4 18 4×Φ18 120 673 754
    40 230 145 110 85 76 4 18 4×Φ18 139 693 776
    50 255 160 125 100 88 4 20 4×Φ18 144 698 804
    65 285 180 145 120 110 4 22 8×Φ18 188 799 954
    80 310 195 160 135 121 4 22 8×Φ18 208 809 964
    100 355 230 190 160 150 4.5 24 8×Φ23 220 821 976
    125 425 270 220 188 176 4.5 28 8×Φ25 268 907 1090
    150 460 300 250 218 204 4.5 30 8×Φ25 278 917 1100
    200 560 375 320 282 260 4.5 38 12×Φ30 320 959 1142
    250 655 445 385 345 313 4.5 42 12×Φ34 441 1161 1309
    300 735 510 450 408 364 4.5 46 16×Φ34 465 1175 1355

    主要外形尺寸PN64

    DN D D1 D2 f D6 f1 b z×Φd H2 H1 H1ˊ
    25 205 135 100 78 2 58 4 4×Φ18 117 670 752
    32 220 150 110 82 2 66 4 4×Φ23 120 673 754
    40 240 165 125 95 3 76 4 4×Φ23 139 693 776
    50 265 175 135 105 3 88 4 4×Φ23 144 698 804
    65 295 200 160 130 3 110 4 8×Φ23 188 799 954
    80 325 210 170 140 3 121 4 8×Φ23 208 809 964
    100 370 250 200 168 3 150 4.5 8×Φ25 220 821 976
    125 440 295 240 202 3 176 4.5 8×Φ30 268 907 1090
    150 475 340 280 240 3 204 4.5 8×Φ34 278 917 1100
    200 570 405 345 300 3 260 4.5 12×Φ34 320 959 1142
    250 670 470 400 325 3 313 4.5 12×Φ41 441 1161 1309
    300 750 530 460 412 4 364 4.5 16×Φ41 465 1175 1355

    声明:【ZAZP,ZAZN 型电动直通单座调节阀】规格型号、结构尺寸由上海凯利科阀门有限公司提供,如何选择适用的ZAZP,ZAZN 型电动直通单座调节阀产品,使之在工艺控制中安全可靠、经济适用,可致电我司销售部门及技术部门,我们将在最短的时间内为您解答!

    Copyright ©2011-2022 上海凯利科阀门有限公司,版权所有。 沪ICP备11046016号-29 网站地图

    销售电话:021-31001158

    手机号码:13816746668 陈国辉/经理

    电子邮件:klkvalves@126.com@126.com

    主营产品:球阀,闸阀,蝶阀,截止阀,止回阀,调节阀

    本周热门:气动球阀气动蝶阀气动刀闸阀气动调节阀电动球阀电动蝶阀电动刀闸阀电动调节阀不锈钢球阀不锈钢闸阀不锈钢截止阀不锈钢止回阀不锈钢电磁阀高压电磁阀高压球阀波纹管截止阀

    官方网址:www.fm058.com