ZDLN电动直通双座调节阀
ZDLN电动直通双座调节阀由PSL系列和3810L系列电子式执行机构和双座调节阀组成。电源为220V.AC 50Hz,含有伺服放大器、位置信号发生器、位置限位开关以及阀位显示。可直接接受工业控制仪表或计算机等输出的(4-20mADC或1-5VDC)进行阀门的开度控制,达到调节介质压力流量、温度等目的。同时可以输出(4-20mADC或1-5VDC)阀位反馈信号。
|
产品名称: |
电动直通双座调节阀 |
产品型号: |
ZDLN |
|
公称通径: |
DN25~DN200 |
结构形式: |
单座、套筒、双座 |
|
公称压力: |
1.6MPa~6.4MPa |
连接方式: |
法兰、螺纹、焊接 |
|
适用温度: |
-29ºC~+550ºC |
驱动方式: |
电动 |
|
阀体材质: |
灰铸铁、铸钢、不锈钢 |
标准: |
国标GB、德国DIN、美国API、ANSI |
|
适用介质: |
水、蒸汽、油品、液体、气体 |
生产厂家: |
上海凯利科阀门有限公司 |
产品说明
ZDLN电动直通双座调节阀由PSL系列和3810L系列电子式执行机构和双座调节阀组成。电源为220V.AC 50Hz,含有伺服放大器、位置信号发生器、位置限位开关以及阀位显示。可直接接受工业控制仪表或计算机等输出的(4-20mADC或1-5VDC)进行阀门的开度控制,达到调节介质压力流量、温度等目的。同时可以输出(4-20mADC或1-5VDC)阀位反馈信号。
工作原理
1、ZDLN电动直通双座调节阀与被调介质直接接触,由于阀芯运动,改变了阀芯与阀座间的流通面积,即改变了阀的阻力系数,从而改变了流经调节机构介质的流量,达到了对工艺参数的调节。
2、ZDLN电动直通双座调节阀是由PSL系列和3810L系列智能型电子式电动执行器通过支架与单座、双座、套筒调节阀连接在一起所 组成。当输入端无信号时,执行器稳定在预选的零位,调节阀处于全开或全闭的位置,执行器的输出轴通过开合螺 母与调节阀的阀杆相连。当输入端有信号时输出轴即通过输入信号按一定比例处在一定的位置,调节阀即处于所需开度,从而达到了调节和控制的目的。电动直通双座调节阀分为电开式和电闭式两种。通过选择电子式电动执行器的正、反 作用开关来实现电开式和电闭式调节。
阀体
|
形 式 |
直通双座 |
|
公称通径 |
25、32、40、50、65、80、100、1 25、150、200mm |
|
公称压力 |
PN16、40、64bar |
|
法兰标准 |
JB/T79.1-94、79.2-94等 |
|
材 料 |
铸钢( ZG230450)、不锈钢(ZGICr18Ni9Ti、ZGICr18Ni12M02Ti)等 |
|
上 阀 盖 |
标准型:-17-230℃ 散热型:230-450℃ 低温型:-60--196℃ 波纹管密封型:-40-350℃ |
|
阀盖形式 |
螺栓压紧式 |
|
填 料 |
V型聚四氟乙烯填料、含浸聚四氰乙烯石棉填料、石棉纺织填料、石墨填料 |
阀内组件
|
阀芯型式 |
双座 |
|
流量特性 |
等百分比特性和线性特性 |
|
材 料 |
不锈钢(1Cr18Ni9Ti、1Cr18Ni12M02Ti、17-4PH、9Cr18、316L)、不锈钢堆司太莱合金、钛和耐腐蚀台金等。 |
执行机构
|
型 式 |
381 LSA-08 |
381 LSA-20 |
381 LSB-30 |
381 LSB-50 |
381 LSC-65 |
381 LSC-99 |
381 LSC-160 |
|
活塞直径 |
381 LXA-08 |
381 LXA-20 |
381 LXB-30 |
381 LXB-50 |
381 LXC-65 |
381 LXC-99 |
381 LXC一160 |
|
输出力推(N) |
800 |
2000 |
3000 |
5000 |
6500 |
10000 |
16000 |
|
最大行程L(mm) |
30 |
60 |
100 |
|
工作速度( mm/s) |
4.2 |
2.1 |
3.5 |
1.7 |
2.8 |
2.0 |
1.0 |
|
主要技术参数 |
电源电压:220W50Hz输入信号:4-20mA或1-5V.DC输出信号:4-20mA.DC |
|
防护等级:相当IP55 隔爆标志:Exd|| BT4 手操功能:手柄 |
|
环境温度:-25 +70℃ 环境湿度:≤95% |
性能
|
流量特性 |
直线、等百分比、快开 |
|
可调范围 |
50:1 (CV<6.3 30:1) |
|
额定CV值 |
等百分比CV1.6~630 ,直线CV1.8~690 |
|
允许泄漏量 |
硬密封:IV级(0.01% 阀额定容量) 软密封:VI级(气泡级)
泄漏量标准:GB/T 4213 |
|
性能指标 |
|
气动 |
电动 |
|
基本误差% |
±1.5 |
±1.0 |
|
回差% |
≤1.5 |
≤1.0 |
|
死区% |
≤0.6 |
≤1.0 |
|
始终点偏差% |
±2.5 |
±2.5 |
|
额定行程偏差% |
≤2.5 |
≤2.5 |
额定流量系数Kv、额定行程、允许压差
|
阀座直径(mm) |
10 |
12 |
15 |
20 |
25 |
32 |
40 |
50 |
65 |
80 |
100 |
125 |
150 |
200 |
|
额定流量系数Cv |
等百分比 |
1.6 |
2.5 |
4.0 |
6.3 |
10 |
16 |
25 |
40 |
63 |
100 |
160 |
250 |
400 |
630 |
|
直线 |
1.8 |
2.8 |
4.4 |
6.9 |
11 |
17.6 |
27.5 |
44 |
69 |
110 |
176 |
275 |
440 |
690 |
|
公称通径 |
行程 |
可选流量系数Cv(★标准型 ●推荐 ○定制) |
|
DN20 |
16mm |
● |
● |
● |
★ |
|
|
|
|
|
|
|
|
|
|
|
DN25 |
● |
● |
● |
● |
★ |
|
|
|
|
|
|
|
|
|
|
DN32 |
25 mm |
○ |
○ |
○ |
○ |
○ |
★ |
|
|
|
|
|
|
|
|
|
DN40 |
|
○ |
○ |
○ |
○ |
● |
★ |
|
|
|
|
|
|
|
|
DN50 |
|
|
○ |
○ |
○ |
● |
● |
★ |
|
|
|
|
|
|
|
DN65 |
40mm |
|
|
|
|
|
○ |
○ |
○ |
★ |
|
|
|
|
|
|
DN80 |
|
|
|
|
|
○ |
○ |
○ |
● |
★ |
|
|
|
|
|
DN100 |
|
|
|
|
|
○ |
○ |
○ |
● |
● |
★ |
|
|
|
|
DN125 |
60mm |
|
|
|
|
|
|
|
|
○ |
○ |
○ |
★ |
|
|
|
DN150 |
|
|
|
|
|
|
|
|
|
○ |
○ |
● |
★ |
|
|
DN200 |
|
|
|
|
|
|
|
|
|
○ |
○ |
● |
● |
★ |
|
电动执行机构 |
金属密封最大允许压差(MPa) |
|
型号 |
推力(N) |
|
3810L-08 |
800 |
6.4 |
5.5 |
3.5 |
2.38 |
|
|
|
|
|
|
|
|
|
|
|
3810L-20 |
2000 |
6.4 |
6.4 |
6.4 |
4.77 |
3.05 |
1.86 |
1.19 |
0.76 |
|
|
|
|
|
|
|
3810L-30 |
3000 |
|
|
|
|
|
2.79 |
1.79 |
1.14 |
|
|
|
|
|
|
|
3810L-50 |
5000 |
|
|
|
|
|
4.66 |
2.98 |
1.91 |
1.13 |
0.6 |
0.47 |
|
|
|
|
3810L-65 |
6500 |
|
|
|
|
|
|
|
|
1.35 |
0.8 |
0.57 |
0.39 |
0.26 |
0.16 |
|
3810L-99 |
10000 |
|
|
|
|
|
|
|
|
|
|
|
0.61 |
0.42 |
0.20 |
|
3810L-160 |
16000 |
|
|
|
|
|
|
|
|
|
|
|
0.97 |
0.67 |
0.35 |
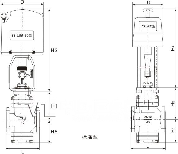
外形结构图
外形尺寸及重量 单位:mm
|
外形尺寸及重量 单位:mm |
|
公称通径 |
25 |
32 |
40 |
50 |
65 |
80 |
100 |
125 |
150 |
200 |
|
L |
PN16/40 |
185 |
200 |
220 |
250 |
275 |
300 |
350 |
410 |
450 |
550 |
|
PN64 |
200 |
210 |
235 |
265 |
295 |
320 |
370 |
440 |
475 |
570 |
|
D |
|
255 |
255 |
255 |
255 |
255 |
255 |
255 |
310 |
310 |
310 |
|
R |
|
177 |
177 |
177 |
177 |
177 |
177 |
177 |
226 |
226 |
226 |
|
H1 |
PN16/40 |
155 |
175 |
180 |
200 |
235 |
250 |
260 |
330 |
350 |
420 |
|
PN64 |
165 |
185 |
185 |
205 |
245 |
255 |
270 |
335 |
365 |
430 |
|
H3 |
PN16/40 |
171 |
195 |
200 |
220 |
262 |
277 |
287 |
357 |
377 |
447 |
|
PN64 |
181 |
205 |
205 |
225 |
272 |
282 |
297 |
362 |
392 |
457 |
|
H2 |
|
373 |
495 |
495 |
495 |
700 |
700 |
700 |
725 |
725 |
725 |
|
H4 |
|
459 |
459 |
459 |
459 |
520 |
520 |
520 |
570 |
570 |
570 |
|
H5 |
PN64 |
120 |
120 |
140 |
145 |
190 |
210 |
220 |
270 |
280 |
320 |
重量
(KG) |
PN16/40 |
16 |
19 |
22 |
23 |
39 |
50 |
59 |
80 |
87 |
115 |
|
PN64 |
21 |
24 |
31 |
33 |
49 |
75 |
92 |
129 |
137 |
170 |
备注:DN300以上请联系技术。
执行机构结构图

本执行器主要由以下几部分组成;
1、控制器:接受来自调节器的 DC4 ~ 20mA 或 DC1 ~ 5V 信号,控制执行器按预定模式工作。
2、传动机构:把电机的旋转运动变成动力输出轴的直线往复运动,实现调节阀的开关和调节功能。
3 、开度检测机构:将输出轴的直线运动位移(阀芯的开度)经齿条、齿轮反馈给电位器,由电位器转换成电信号再反馈给控制器,当来自调节器的输入信号和阀芯的开度信号之差为零时,电机将停止工作。
4 、联结机构:通过支架将执行器和被控阀门联结,并由开合螺母将执行器输出轴和阀杆连接,开合螺母上带有指针,支架上有标尺,可指示输出轴(或阀杆)的位移
5 、手动机构:本执行器还设计有手动机构,在断电情况下,根据需要可由手动操作来完成调节阀的开、关和调节功能。
接线图
主要特点
3810L系列直行程电子式电动执行器是以220V交流单相电源做为驱动电源,接受来自调节器控制信号(DC4 ~ 20mA 或 DC1 ~ 5V),实现预定直线往复运动的新型执行器。本系列执行器被用作调节阀的执行机构时,几乎具备了调节阀本身所要求的各种动作变换功能以及阀开度信号功能和手动功能。因此被广泛应于发电、冶金、石化、轻工及环保等工业部门。
主要特点
1.1 执行器设计有伺服系统(无需另配伺服放大器),只需接入DC4 ~ 20mA
(或DC1 ~5V)信号和AC220V单相电源即可工作。内设接线端子,接线极为简单
方便。
1.2 执行器的关键部件 — 控制器,采用最先进的混合集成电路,用树脂密
封浇铸,外形为匣状,体积小,可靠性高。
1.3 驱动量的反馈检测采用高性能导电塑料电位器,分辨率< 0.4%。
1.4 具备自诊断功能,当发生故障时,控制器上的指示灯会立即发出指示信号。
1.5 用状态选择开关可以设定断信号时,(阀芯处于全开,全闭或自锁状态。)
1.6 用状态选择开关可以设定(正、反动作。)
1.7 用状态选择开关可以设定输入信号为(DC4~20mA或DC1~5V。)
1.8 调整工作零点(始点)和行程(终点)简单易行。
1.9 当突然断电时,能确保阀芯自锁。
1.10 采用同步皮带转动,有效降低了噪音。
1.11 延时保护功能,额定负载时,能实行状态自锁,故障发生时,能立即起
动保护,并可反向运行取消延时保护。
2 主要技术参数
2.1 电源:AC220V±10%,50HZ
2.2 耗电功率(额定负载时)
规格 A 型执行器 50VA;
规格 B 型执行器 150VA;
规格 C 型执行器 220VA。
2.3 输入信号:DC4 ~ 20mA 或 DC1 ~ 5V。
2.4 输出信号:DC4 ~ 20mA(负载电阻碍500Ω以下)。
2.5 控制精度:基本误差:±1%;回差≤1%;死区≤1%。
2.6 工作行程调整范围:“零点”:±25%;“行程”20% ~ 100%。
2.7 外部配线:输入输出信号应采用屏蔽电缆。电源线不得与信号线共用一根电缆。
直行程3810L、3410L系列
|
类别 |
3810L系列 |
3410L系列 |
额定输出力N |
速度mm/s |
最大行程mm |
|
普通型 |
381LS A-08 |
341LS A-08 |
800 |
4.2 |
30 |
|
381LSA-20 |
341LSA-20 |
2000 |
2.1 |
|
381LSB-30 |
341LSB-30 |
3000 |
3.5 |
60 |
|
381LS B-50 |
341LS B-50 |
5000 |
1.7 |
|
381LSC-65 |
341LSC-65 |
6500 |
3.4 |
100 |
|
381LSC-99 |
341LSC-99 |
10000 |
2.0 |
|
381LSC-160 |
341LSC-160 |
16000 |
1.0 |
|
隔爆型 |
381LX A-08 |
341LX A-08 |
800 |
4.2 |
30 |
|
381LXA-20 |
341LXA-20 |
2000 |
2.1 |
|
381LXA-30 |
341LXA-30 |
3000 |
3.5 |
60 |
|
381LXA-50 |
341LXA-50 |
5000 |
1.7 |
角行程3810R、3410R系列
|
类别 |
3810R系列 |
3410R系列 |
额定输出力矩N.m |
动作时间90o/S |
最大转角 |
|
普通型 |
381RSA-02 |
341RSA-02 |
20 |
8.5 |
90º |
|
381RSA-05 |
341RSA-05 |
50 |
17 |
|
381RSB-10 |
341RSB-10 |
100 |
18 |
|
381RSB-20 |
341RSB-20 |
200 |
36 |
|
381RSC-30 |
341RSC-30 |
300 |
24 |
|
381RSC-50 |
341RSC-50 |
500 |
42 |
|
381RSC-60 |
341RSC-60 |
600 |
48 |
|
381RSD-100 |
341RSD-100 |
1000 |
30 |
|
381RSD-150 |
341RSD-150 |
1500 |
42 |
|
隔爆型 |
381RXB-10 |
341RXB-10 |
100 |
18 |
|
381RXB-20 |
341RXB-20 |
200 |
36 |
声明:【ZDLN电动直通双座调节阀】规格型号、结构尺寸由上海凯利科阀门有限公司提供,如何选择适用的ZDLN电动直通双座调节阀产品,使之在工艺控制中安全可靠、经济适用,可致电我司销售部门及技术部门,我们将在最短的时间内为您解答! |