首页
公司介绍
新闻中心
组织机构
服务理念
售后服务
联系我们
产品中心
jtgk.png

产品中心

SFA22C-300T冷冻机安全阀

您的位置:阀门 - 安全阀 - SFA22C-300T冷冻机安全阀 更新时间:2024-08-01 11:08:03
SFA22C-300T冷冻机安全阀
    • 质量安全:压力、材质、密封等全方位检测确保质量过关!
    • 价格比较:在相同品质的情况下,厂里直销,更具有优势!
    • 交货快捷:常规产品现货供应,生产加工销售一条龙服务!
      上海凯利科阀门竭诚为您提供安全可靠的SFA22C-300T冷冻机安全阀成套技术方案,以及售前选型报价,售后技术指导、安装、调试服务!

    • 产品描述
    • 在线询价
    • 技术咨询
    SFA22C-300T冷冻机安全阀SFA22C-300T冷冻机安全阀

    SFA22C-300T冷冻机安全阀(中央空调用安全阀)是一种结构小巧,重量轻,适用于冷冻设备主机超压保护的安全装置;全身采用黄铜棒材加工而成,密封采用聚四氟乙烯F4材料,密封性能高,泄露量符合ANSI标准。整定压力等级≤4.0MPa。

    产品名称: 冷冻机安全阀 产品型号: SFA-22C300T
    公称通径: DN8~DN32 结构形式: 弹簧式
    公称压力: 1.6MPa~4.0MPa 连接方式: 外螺纹
    适用温度: -29ºC~+180ºC 驱动方式: 弹簧自动起跳
    阀体材质: 黄铜 制造标准: 国标GB、德国DIN、美国API、ANSI
    适用介质: 水、空气、气体等 生产厂家: 上海凯利科阀门有限公司

    产品说明

    SFA-22C300T冷冻机安全阀(中央空调用安全阀)是一种结构小巧,重量轻,适用于冷冻设备主机超压保护的安全装置;全身采用黄铜棒材加工而成,密封采用聚四氟乙烯F4材料,密封性能高,泄露量符合ANSI标准。整定压力等级≤4.0MPa。

    产品特点

    1、整定压力偏差小,可达±3%
    2、启闭压差≤15%
    3、选用优质的弹簧钢,保证弹簧的寿命和稳定性
    4、全身采用黄铜棒材加工而成
    5、全启式结构,排量大
    6、密封采用聚四氟乙烯F4材料,密封性能高
    7、卤素检测试验≤0.1盎司/年

    执行标准

    设计规范:ANSI/ASHRAE15
    结构长度:ANSI
    试验与检验:ANSI
    产品标识:GB/T 12220
    供货规范:JB/T 7928

    额定排量

    口径 mm(in) do
    (mm)
    整定压力Psig(Mpa)
    200(1.38) 250(1.72) 300(2.07) 350(2.42) 400(2.76)
    DN8(1/4) 6.3 9 11.5 13.5 15.5 18
    DN10(3/8) 7.0 12 14.5 17 20 22.5
    DN15(1/2) 7.8 14.5 18 21.5 25 28
    DN20(3/4) 11 29 35.5 42.5 49.5 56
    DN25(1) 18 77.5 95.5 114 132.5 150.5
    DN32(1'/4) 26.5 168 207 247 287 319.5
    注:排量单位Lbs/min(空气)

    性能参数

    型号 Type SFA22C-300T
    公称压力 300Lbs
    公称通径 DN8~32(1/4~1-1/4")
    强度试验压力 5.2MPa
    排放压力 ≤1.1倍整定压力
    密封压力 0.9倍整定压力
    密封性 气压试验2分钟无泄漏、卤素检漏实验泄漏率≤0.1盎司/年
    适用温度 -40~105°C
    适用介质 制冷剂、油、水、气体等

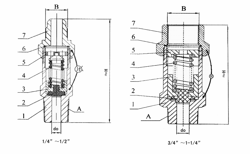
    主要零件材料

    序号 NO. 零件名称 材料
    1 阀体 HPb59-1/H62
    2 密封圈 PTFE
    3 阀瓣 HPb59-1/H62
    4 弹簧 50CrVA
    5 调整螺母 HPb59-1/H62
    6 垫片 T3
    7 螺母 HPb59-1/H62

    外形结构图

     

    主要外形尺寸

    口径mm(in) in ≈H (mm)
    进口A 出口B
    DN8(1/4) 1/4-18MNPT 5/8-18UNF 80
    DN10(3/8) 3/8-18MNPT 5/8-18UNF 90
    DN15(1/2) 1/2-14MNPT 7/8-14UNF 95
    DN20(3/4) 3/4-14MNPT 3/4-14FNPT 100
    DN25(1) 1-11.5MNPT 1-11.5FNPT 120
    DN32(1'/4) 1'/4-11.5MNPT 1'/2-11.5FNPT 175
     

    声明:【SFA22C-300T冷冻机安全阀】规格型号、结构尺寸由上海凯利科阀门有限公司提供,如何选择适用的SFA22C-300T冷冻机安全阀产品,使之在工艺控制中安全可靠、经济适用,可致电我司销售部门及技术部门,我们将在最短的时间内为您解答!

    Copyright ©2011-2022 上海凯利科阀门有限公司,版权所有。 沪ICP备11046016号-29 网站地图

    销售电话:021-31001158

    手机号码:13816746668 陈国辉/经理

    电子邮件:klkvalves@126.com@126.com

    主营产品:球阀,闸阀,蝶阀,截止阀,止回阀,调节阀

    本周热门:气动球阀气动蝶阀气动刀闸阀气动调节阀电动球阀电动蝶阀电动刀闸阀电动调节阀不锈钢球阀不锈钢闸阀不锈钢截止阀不锈钢止回阀不锈钢电磁阀高压电磁阀高压球阀波纹管截止阀

    官方网址:www.fm058.com