



CS15H自由半浮球式疏水阀
CS15H自由半浮球式疏水阀用于石油、化工、电力、纺织印染、医疗、医药等行业的各种蒸汽加热设备、蒸汽管网和低过热蒸汽工况。它能迅速地排除凝结水,有效地阻止蒸汽泄漏。能排连续饱和水,至使设备凝结水滞存量较少、升温快、加热温度稳定。
| 产品名称: | 自由半浮球式疏水阀 | 产品型号: | CS15H |
| 公称通径: | DN15~DN65 | 结构形式: | 半浮球式 |
| 公称压力: | 1.6MPa~2.5MPa~4.0MPa | 连接方式: | 法兰、内螺纹 |
| 适用温度: | -29ºC~+425ºC | 驱动方式: | 自动 |
| 阀体材质: | 铸钢、不锈钢 | 制造标准: | 国标GB、德国DIN、美国API、ANSI |
| 适用介质: | 水、蒸汽等 | 生产厂家: | 上海凯利科阀门有限公司 |


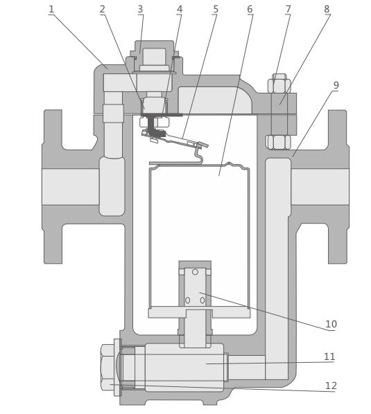
| 序号 | 名称 | 材料 |
| 1 | 阀盖 | WCB |
| 2 | 封圈 | 304 |
| 3 | 螺堵 | Q235 |
| 4 | 吊支架 | 304 |
| 5 | 挂支架 | 304 |
| 6 | 浮筒 | 304 |
| 7 | 螺母 | 45 |
| 8 | 螺柱 | 35CrMoA |
| 9 | 阀体 | WCB |
| 10 | 增压桶 | Q235 |
| 11 | 滤网 | 304 |
| 12 | 滤网座 | Q235 |
| 型号 | 口径DN | L | H | h | W |
|
CS15H-16C CS15H-25C CS15H-40C |
15 | 170 | 166 | 94 | 102 |
| 20 | 170 | 166 | 94 | 102 | |
| 25 | 210 | 166 | 94 | 102 | |
| 32 | 230 | 290 | 160 | 142 | |
| 40 | 230 | 290 | 160 | 142 | |
| 50 | 230 | 290 | 160 | 142 | |
| 65 | 280 | 290 | 160 | 142 |
| 型号 | 口径DN | L | H | h | W |
|
CS15H-16C CS15H-25C CS15H-40C |
15 | 120 | 166 | 94 | 102 |
| 20 | 120 | 166 | 94 | 102 | |
| 25 | 130 | 166 | 94 | 102 | |
| 32 | 200 | 290 | 160 | 142 | |
| 40 | 200 | 290 | 160 | 142 | |
| 50 | 200 | 290 | 160 | 142 |
声明:【CS15H自由半浮球式疏水阀】规格型号、结构尺寸由上海凯利科阀门有限公司提供,如何选择适用的CS15H自由半浮球式疏水阀产品,使之在工艺控制中安全可靠、经济适用,可致电我司销售部门及技术部门,我们将在最短的时间内为您解答! |