



FQ41F不锈钢放料球阀
FQ41F不锈钢放料球阀两端法兰大小不等,一端为标准法兰,一端为与反应釜底放料孔配套的法兰,很方便的就可以连接在反应釜底,阀座与端面法兰距离近,物料滞留少,结构紧凑密封性能优越,其启闭件球体与阀杆铸(锻)为一体,杜绝了由于压力变化引起阀杆冲击承压件内的可能性,从根本上保证了使用中的安全性。
| 产品名称: | 不锈钢放料球阀 | 产品型号: | FQ41F |
| 公称通径: | DN25~DN200 | 结构形式: | 球形 |
| 公称压力: | 1.6MPa~2.5MPa~4.0MPa | 连接方式: | 法兰 |
| 适用温度: | -29ºC~+180ºC | 驱动方式: | 手动、气动、电动 |
| 阀体材质: | 铸钢、不锈钢 | 制造标准: | 国标GB、德国DIN、美国API、ANSI |
| 适用介质: | 水、液体、颗粒状颗粒等 | 生产厂家: | 上海凯利科阀门有限公司 |
| 序号 | 零件名称 | 材料名称 | |||
| FQ41F-P | FQ41F-R | FQ41F-PL | FQ41F-RL | ||
| 1 | 阀体/阀盖 | CF8 | CF8M | CF3 | CF3M |
| 2 | 球体/阀杆 | CF8 | CF8M | CF3 | CF3M |
| 3 | 填料压盖 | CF8 | CF8M | CF3 | CF3M |
| 4 | 填料 | PTFE(F4)聚四氟乙烯 | |||
| 5 | 螺栓 | 1Crl7Ni2 | 1Crl7Ni2 | 1Cr18Ni2 | 1Cr18Ni2 |
| 6 | 紧固螺母 | OCrl8Ni9 | OCrl8Ni9 | 0Cr18Ni9 | 0Cr18Ni9 |
|
公称压力 PN(MPa) |
公称通径 DN(mm) |
主要尺寸(mm) |
重量 (kg) |
||||||||
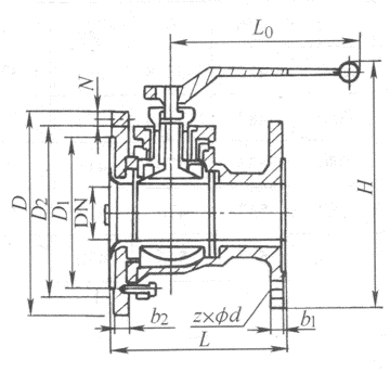
| L | D | D1 | D2 | Z-φd | f | b | D0 | H | |||
| 1.0 | 25/50 | 125 | 115/140 | 85/110 | 65/90 | 4-14/4-14 | 3/3 | 17/17 | 180 | 105 | 6 |
| 32/65 | 135 | 140/160 | 100/130 | 78-110 | 4-18/4-14 | 3/3 | 19/17 | 180 | 120 | 7.5 | |
| 40/65 | 150 | 150/160 | 110/130 | 85/110 | 4-18/4-14 | 3/3 | 19/17 | 225 | 140 | 10 | |
| 40/80 | 150 | 150/190 | 110/150 | 85/125 | 4-18/4-14 | 3/3 | 19/19 | 225 | 140 | 10 | |
| 50/80 | 165 | 165/190 | 125/170 | 100/145 | 4-18/4-18 | 3/3 | 21/19 | 225 | 150 | 16 | |
| 50/100 | 165 | 165/210 | 125/170 | 100/145 | 4-18/4-18 | 3/3 | 21/19 | 225 | 150 | 16 | |
| 65/100 | 180 | 185/210 | 145/170 | 120/145 | 4-18/4-18 | 3/3 | 21/19 | 360 | 160 | 20.5 | |
| 65/125 | 180 | 185/240 | 145/200 | 120/175 | 4-18/4-18 | 3/4 | 21/20 | 360 | 160 | 20.5 | |
| 80/125 | 240 | 200/240 | 160/200 | 135/175 | 8-18/8-18 | 3/4 | 21/20 | 420 | 215 | 31 | |
| 80/125 | 240 | 200/265 | 160/225 | 135/200 | 8-18/8-18 | 3/4 | 21/22 | 420 | 215 | 31 | |
| 100/150 | 260 | 220/265 | 180/225 | 155/200 | 8-18/8-18 | 3/4 | 23/22 | 420 | 240 | 43 | |
| 100/200 | 260 | 220/320 | 180/280 | 155/255 | 8-18/8-18 | 3/4 | 23/24 | 420 | 240 | 43 | |
声明:【FQ41F不锈钢放料球阀】规格型号、结构尺寸由上海凯利科阀门有限公司提供,如何选择适用的FQ41F不锈钢放料球阀产品,使之在工艺控制中安全可靠、经济适用,可致电我司销售部门及技术部门,我们将在最短的时间内为您解答! |