首页
公司介绍
新闻中心
组织机构
服务理念
售后服务
联系我们
产品中心
jtgk.png

产品中心

BFL41H不锈钢保温放料阀

您的位置:阀门 - 放料阀 - BFL41H不锈钢保温放料阀 更新时间:2024-08-01 01:08:19
BFL41H不锈钢保温放料阀
    • 质量安全:压力、材质、密封等全方位检测确保质量过关!
    • 价格比较:在相同品质的情况下,厂里直销,更具有优势!
    • 交货快捷:常规产品现货供应,生产加工销售一条龙服务!
      上海凯利科阀门竭诚为您提供安全可靠的BFL41H不锈钢保温放料阀成套技术方案,以及售前选型报价,售后技术指导、安装、调试服务!

    • 产品描述
    • 在线询价
    • 技术咨询
    BFL41H不锈钢保温放料阀BFL41H不锈钢保温放料阀

    BFL41H不锈钢保温放料阀主要用于石油、化工、冶金、制药等各类系统中,以输送常温下会凝固的高粘度介质。不锈钢保温放料阀的夹套焊装于放料阀的阀体,夹套不锈钢保温放料阀的侧面设置有夹套的连接口。由于增加了夹套,此种放料阀的连接法兰尺寸要比同一规格普通球阀的连接法兰大一到两个规格,但结构长度与同规格的放料阀相同,夹套中可自由地流过蒸汽或其它热的保温介质,确保粘稠介质可顺畅地流过不锈钢保温放料阀。

    产品名称: 不锈钢保温放料阀 产品型号: BFL41H
    公称通径: DN25~DN200 结构形式: 上展式、下展式
    公称压力: 1.6MPa~2.5MPa~4.0MPa 连接方式: 法兰
    适用温度: -29ºC~+425ºC 驱动方式: 手动、气动、电动
    阀体材质: 铸钢、不锈钢 制造标准: 国标GB、德国DIN、美国API、ANSI
    适用介质: 颗粒状物料、结晶颗粒、其他物料等 生产厂家: 上海凯利科阀门有限公司

    产品说明

    BFL41H不锈钢保温放料阀主要用于石油、化工、冶金、制药等各类系统中,以输送常温下会凝固的高粘度介质。不锈钢保温放料阀的夹套焊装于放料阀的阀体,夹套不锈钢保温放料阀的侧面设置有夹套的连接口。由于增加了夹套,此种放料阀的连接法兰尺寸要比同一规格普通球阀的连接法兰大一到两个规格,但结构长度与同规格的放料阀相同,夹套中可自由地流过蒸汽或其它热的保温介质,确保粘稠介质可顺畅地流过不锈钢保温放料阀。

    标准规范

    设计制造标准:HG5-16-79
    结构长度标准:GB/T 12221-2005
    连接法兰标准:GB/T 9113
    压力温度等级:GB/T 12224-2005
    试验检验标准:GB/T 13927-2008

    主要零部件

    零件名称 ZG1Cr18Ni9Ti系列 ZG00Cr18Ni10系列 ZG1Cr18Ni12MO 2 Ti系列 ZG00Cr17Ni14MO 2 系列 WCB系列
    阀体/阀盖 ZG1Cr18Ni9Ti ZG00Cr18Ni10 ZG1Cr18Ni12MO 2 Ti ZG00Cr17Ni14MO 2 WCB
    阀杆 ZG1Cr18Ni9Ti ZG00Cr18Ni10 ZG1Cr18Ni12MO 2 Ti ZG00Cr17Ni14MO 2 WCB
    阀瓣 ZG1Cr18Ni9Ti ZG00Cr18Ni10 ZG1Cr18Ni12MO 2 Ti ZG00Cr17Ni14MO 2 WCB
    垫片 304+PTFE 304L+PTFE 316+PTFE 316L+PTFE 石墨+304
    螺柱 1Cr17Ni2 1Cr17Ni2 1Cr17Ni2 1Cr17Ni2 35CrMoA
    螺母 1Cr18Ni9Ti 1Cr18Ni9Ti 1Cr18Ni9Ti 1Cr18Ni9Ti 45

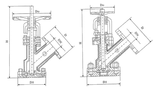
    外形结构图

     

    主要外形尺寸

    口径 上展式 下展式
    D D3 H D0 D D3 H D0
    25 115 115 270 160 115 135 225 160
    32 135 135 285 160 135 145 300 160
    40 145 145 355 180 145 160 340 180
    50 160 160 370 180 160 180 345 180
    65 180 180 465 220 180 195 425 220
    80 195 195 480 250 195 215 445 250
    100 215 215 590 280 215 260 535 280
    125 245 245 730 300 245 280 585 300
    150 280 280 775 320 280 330 665 320
     

    声明:【BFL41H不锈钢保温放料阀】规格型号、结构尺寸由上海凯利科阀门有限公司提供,如何选择适用的BFL41H不锈钢保温放料阀产品,使之在工艺控制中安全可靠、经济适用,可致电我司销售部门及技术部门,我们将在最短的时间内为您解答!

    Copyright ©2011-2022 上海凯利科阀门有限公司,版权所有。 沪ICP备11046016号-29 网站地图

    销售电话:021-31001158

    手机号码:13816746668 陈国辉/经理

    电子邮件:klkvalves@126.com@126.com

    主营产品:球阀,闸阀,蝶阀,截止阀,止回阀,调节阀

    本周热门:气动球阀气动蝶阀气动刀闸阀气动调节阀电动球阀电动蝶阀电动刀闸阀电动调节阀不锈钢球阀不锈钢闸阀不锈钢截止阀不锈钢止回阀不锈钢电磁阀高压电磁阀高压球阀波纹管截止阀

    官方网址:www.fm058.com