首页
公司介绍
新闻中心
组织机构
服务理念
售后服务
联系我们
产品中心
jtgk.png

产品中心

BY41H-Y型保温过滤器

您的位置:阀门 - 过滤器 - BY41H-Y型保温过滤器 更新时间:2024-07-27 09:07:52
BY41H-Y型保温过滤器
    • 质量安全:压力、材质、密封等全方位检测确保质量过关!
    • 价格比较:在相同品质的情况下,厂里直销,更具有优势!
    • 交货快捷:常规产品现货供应,生产加工销售一条龙服务!
      上海凯利科阀门竭诚为您提供安全可靠的BY41H-Y型保温过滤器成套技术方案,以及售前选型报价,售后技术指导、安装、调试服务!

    • 产品描述
    • 在线询价
    • 技术咨询
    BY41H-Y型保温过滤器BY41H-Y型保温过滤器

    BY41H-Y型保温过滤器是用于水、油、气、沥青等管路和各种设备上不可缺少的一种保温装置,通常安装在减压阀、泄压阀、定水位器或其它设备的进口端,用来清除介质中的杂质,以保护阀门及设备的正常使用。Y型保温过滤器具有结构简单,阻力小,排污方便等优点。

    产品名称: Y型保温过滤器 产品型号: BY41H
    公称通径: DN40~DN450 滤网材料: 不锈钢
    工作压力: 1.6MPa~6.4MPa 连接方式: 法兰
    适用温度: -20ºC~+450ºC 功能作用: 过滤管道中的杂质
    阀体材质: 铸钢、不锈钢 制造标准: 国标GB、德国DIN、美国API、ANSI
    适用介质: 易结晶流体 生产厂家: 上海凯利科阀门有限公司

    产品说明

    BY41H-Y型保温过滤器是用于水、油、气、沥青等管路和各种设备上不可缺少的一种保温装置,通常安装在减压阀、泄压阀、定水位器或其它设备的进口端,用来清除介质中的杂质,以保护阀门及设备的正常使用。Y型保温过滤器具有结构简单,阻力小,排污方便等优点。在阀体外部焊装有金属夹套,并设有夹套接口,可涵入蒸气或其它过热气体,以保护阀内介质不会在常温下凝固或结晶。同一规格口径的情况下,保温型过滤器的连接尺寸要比Y型过滤器大一到两个规格。

    结构特点

    1、Y型保温过滤器具有结构简单,阻力小,排污方便等优点。
    2、在阀体外部焊装有金属夹套,并设有夹套接口。
    3、可涵入蒸气或其它过热气体,以保护阀内介质不会在常温下凝固或结晶。
    性能规范:
    型号 连接形式 公称压力MPa 试验压力MPa 工作压力MPa 壳体材料 过滤网材料 适用介质
    BY41H-10 法兰 1.0 1.1 1.0 灰铸铁 1.1 水、油和气等
    BY41H-16 法兰 1.6 1.76 1.6 球墨铸铁 1.76
    BY41H-25 法兰 2.5 2.75 2.5 碳钢 2.75

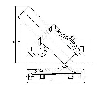
    外形结构图

     

    主要外形尺寸

    口径DN(mm) 40 50 65 80 100 125 150 200 250 300 350 400 450
    BY41H L 200 220 260 280 320 350 380 495 595 640 700 800 850
    H 100 130 165 195 230 300 335 420 500 580 640 700 790
     

    声明:【BY41H-Y型保温过滤器】规格型号、结构尺寸由上海凯利科阀门有限公司提供,如何选择适用的BY41H-Y型保温过滤器产品,使之在工艺控制中安全可靠、经济适用,可致电我司销售部门及技术部门,我们将在最短的时间内为您解答!

    Copyright ©2011-2022 上海凯利科阀门有限公司,版权所有。 沪ICP备11046016号-29 网站地图

    销售电话:021-31001158

    手机号码:13816746668 陈国辉/经理

    电子邮件:klkvalves@126.com@126.com

    主营产品:球阀,闸阀,蝶阀,截止阀,止回阀,调节阀

    本周热门:气动球阀气动蝶阀气动刀闸阀气动调节阀电动球阀电动蝶阀电动刀闸阀电动调节阀不锈钢球阀不锈钢闸阀不锈钢截止阀不锈钢止回阀不锈钢电磁阀高压电磁阀高压球阀波纹管截止阀

    官方网址:www.fm058.com