首页
公司介绍
新闻中心
组织机构
服务理念
售后服务
联系我们
产品中心
jtgk.png

产品中心

HF-4乙炔管道阻火器

您的位置:阀门 - 阻火器 - HF-4乙炔管道阻火器 更新时间:2024-07-27 09:07:54
HF-4乙炔管道阻火器
    • 质量安全:压力、材质、密封等全方位检测确保质量过关!
    • 价格比较:在相同品质的情况下,厂里直销,更具有优势!
    • 交货快捷:常规产品现货供应,生产加工销售一条龙服务!
      上海凯利科阀门竭诚为您提供安全可靠的HF-4乙炔管道阻火器成套技术方案,以及售前选型报价,售后技术指导、安装、调试服务!

    • 产品描述
    • 在线询价
    • 技术咨询
    HF-4乙炔管道阻火器HF-4乙炔管道阻火器

    HF-4乙炔管道阻火器是一种乙炔专用的回火器,采用特种铜合金和不锈钢、碳钢制作而成。它在乙炔管道中具有阻止火苗的特点。可有效地切断火源,杜绝管道中燃爆事故的发生。在工业乙炔管道过程中,越来越显示它的必要性与阻燃的优越性。

    产品名称: 乙炔管道阻火器 产品型号: HF-4
    公称通径: DN20~DN100 功能作用: 阻火
    公称压力: 1.6MPa~4.0MPa 连接方式: 法兰、螺纹
    适用温度: -80ºC~+350ºC 安装位置: 乙炔管道
    阀体材质: 碳钢、不锈钢、铜合金 制造标准: 国标GB、德国DIN、美国API、ANSI
    适用介质: 乙炔、燃气、氢气、石油液化气、可燃气体等 生产厂家: 上海凯利科阀门有限公司

    产品说明

    HF-4乙炔管道阻火器是一种乙炔专用的回火器,采用特种铜合金和不锈钢、碳钢制作而成。它在乙炔管道中具有阻止火苗的特点。可有效地切断火源,杜绝管道中燃爆事故的发生。在工业乙炔管道过程中,越来越显示它的必要性与阻燃的优越性。

    作用原理

    HF-4乙炔管道阻火器的作用是防止外部火焰窜入存有易燃易爆气体的设备、管道内或阻止火焰在设备、管道间蔓延。是应用火焰通过热导体的狭小孔隙时,由于热量损失而熄灭的原理设计制造。

    性能特点

    1、可以迅速阻断火源,杜绝管道中燃爆事故的发生。
    2、可以有效地防止乙炔管道阀门在突然开启时易形成的“绝热压缩”,局部温度骤升,成为着火能源。
    3、可以防止在阀门前后压差作用下,高速运动的物质微粒(如铁锈、粉尘、焊渣等)与阀后管道摩擦、撞击产生火花而成为着火能源。
    4、连续13次阻爆性能试验每次均能阻火。耐烧性能合格,耐烧试验1小时无回火现象。
    5、壳体水压试验合格。符合国家标准GB5908-86的要求。

    阻火层

    采用不锈钢“N”形,双层波纹带为阻火芯件而且在芯件内部有一个十字结构的支架(或在表面压上Y形架)借以增强芯件的牢靠性,避免芯件被点燃的介质所产生的爆炸压力冲散。以此原理来设计三角形孔的高度阻止火焰的通过,再加上足够的流道长度来吸收火焰的热量,使其在芯件中熄灭,避免了气体在芯件的另一端被复燃的可能性。

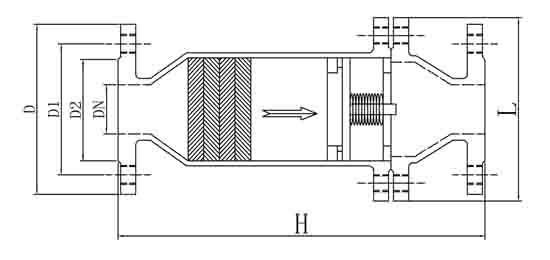
    外形结构图

     

    主要外形尺寸

    口径 L H D D1 D2
    DN20 125 330 105 75 55
    DN25 125 330 115 85 65
    DN50 175 400 160 125 100
    DN80 210 480 195 160 135
    DN100 230 500 215 180 155

    声明:【HF-4乙炔管道阻火器】规格型号、结构尺寸由上海凯利科阀门有限公司提供,如何选择适用的HF-4乙炔管道阻火器产品,使之在工艺控制中安全可靠、经济适用,可致电我司销售部门及技术部门,我们将在最短的时间内为您解答!

    Copyright ©2011-2022 上海凯利科阀门有限公司,版权所有。 沪ICP备11046016号-29 网站地图

    销售电话:021-31001158

    手机号码:13816746668 陈国辉/经理

    电子邮件:klkvalves@126.com@126.com

    主营产品:球阀,闸阀,蝶阀,截止阀,止回阀,调节阀

    本周热门:气动球阀气动蝶阀气动刀闸阀气动调节阀电动球阀电动蝶阀电动刀闸阀电动调节阀不锈钢球阀不锈钢闸阀不锈钢截止阀不锈钢止回阀不锈钢电磁阀高压电磁阀高压球阀波纹管截止阀

    官方网址:www.fm058.com