
DJ41Y低温截止阀
DJ41Y低温截止阀适用于低温液体贮运设备的管理系统,具有开关灵活、密封可靠的特点,也可用于其他低温和深冷介质的管理系统。
| 产品名称: | 低温截止阀 | 产品型号: | DJ41Y |
| 公称通径: | DN15~DN300 | 结构形式: | 截止式 |
| 公称压力: | 1.6MPa~16.0MPa | 连接方式: | 法兰、焊接、螺纹 |
| 适用温度: | -29ºC~-196ºC | 驱动方式: | 手轮、伞齿轮 |
| 阀体材质: | LCB碳钢、LC3不锈钢 | 制造标准: | 国标GB、德国DIN、美国API、ANSI |
| 适用介质: | 液化天然气、液氮、液氨、乙烯、丙烯、甲烷 | 生产厂家: | 上海凯利科阀门有限公司 |
| 设计与制造 | 结构长度 | 法兰尺寸 | 压力-温度 | 试验与检验 |
| JB/T7749 | GB 12221 | JB79 | GB9131 | JB/T9092 |
| 公称压力PN | 1.6 | 2.5 | 4.0 |
| 强度试验 | 2.4 | 3.8 | 6.0 |
| 水密封试验 | 1.8 | 2.8 | 4.4 |
| 上密封试验 | 1.8 | 2.8 | 4.4 |
| 气密封试验 | 0.4-0.7 | ||
| 型号 | DJ41Y-16 | DJ41Y-16P | DJ41Y-25 | DJ41Y-25P | DJ41Y-40 | DJ41Y-40P | |
| 工作压力(MPa) | 1.6 | 2.5 | 4.0 | ||||
| 适用温度(℃) | -45 | -101 | -196 | ||||
| 适用介质 | 液化天然气、液氮、液氨、乙烯、丙烯、甲烷等低温介质 | ||||||
| 材料 | 阀体、阀盖 | LCB | LC3 | LCB | LC3 | LCB | LC3 |
| 阀瓣、阀座 | 铬镍钢+钴铬钨 | ||||||
| 阀杆 | 铬镍钢 | ||||||
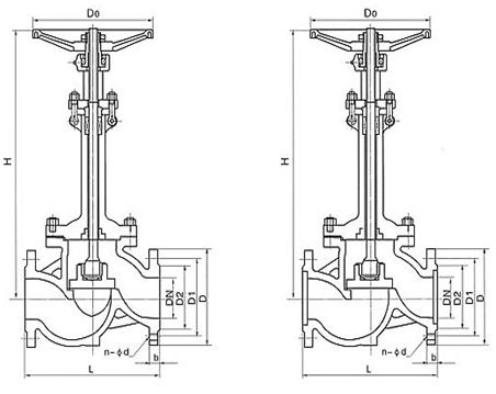
| 1.6MPa | DN | L | D | D1 | D2 | b | n-Φd | H | D0 | ||
| -46℃ | -101℃ | -196℃ | |||||||||
|
凸面法兰 RF DJ41Y-16L DJ41Y-16LC1 DJ41Y-16LC2 DJ41Y-16LC3 DJ41Y-16LC4 DJ41Y-16P DJ41Y-16R |
50 | 230 | 160 | 125 | 100 | 16 | 4-Φ18 | 460 | 480 | 520 | 240 |
| 65 | 290 | 180 | 145 | 120 | 18 | 4-Φ18 | 475 | 505 | 525 | 280 | |
| 80 | 310 | 195 | 160 | 135 | 20 | 8-Φ18 | 520 | 550 | 590 | 280 | |
| 100 | 350 | 215 | 180 | 155 | 20 | 8-Φ18 | 545 | 575 | 615 | 320 | |
| 125 | 400 | 245 | 210 | 185 | 22 | 8-Φ18 | 590 | 620 | 660 | 360 | |
| 150 | 480 | 280 | 240 | 210 | 24 | 8-Φ23 | 650 | 680 | 730 | 400 | |
| 200 | 600 | 335 | 295 | 265 | 26 | 12-Φ23 | 850 | 880 | 930 | 400 | |
| 250 | 730 | 405 | 335 | 320 | 30 | 12-Φ25 | 956 | 986 | 1036 | 450 | |
| 300 | 850 | 460 | 410 | 375 | 30 | 12-Φ25 | 1095 | 1125 | 1175 | 500 | |
| 2.5MPa | 50 | 230 | 160 | 125 | 100 | 20 | 4-Φ18 | 460 | 460 | 520 | 240 |
|
凸面法兰 RF DJ41Y-25LCB DJ41Y-25LC1 DJ41Y-25LC2 DJ41Y-25LC3 DJ41Y-25LC4 DJ41Y-25P DJ41Y-25R |
65 | 290 | 180 | 145 | 120 | 22 | 8-Φ18 | 475 | 505 | 525 | 280 |
| 80 | 310 | 195 | 160 | 135 | 22 | 8-Φ18 | 520 | 550 | 590 | 280 | |
| 100 | 350 | 230 | 190 | 160 | 24 | 8-Φ23 | 545 | 575 | 615 | 320 | |
| 125 | 400 | 270 | 220 | 188 | 28 | 8-Φ25 | 590 | 620 | 660 | 360 | |
| 150 | 480 | 300 | 250 | 218 | 30 | 8-Φ25 | 650 | 680 | 730 | 400 | |
| 200 | 600 | 360 | 310 | 278 | 34 | 12-Φ25 | 850 | 880 | 930 | 400 | |
| 250 | 730 | 425 | 370 | 332 | 36 | 12-Φ30 | 956 | 986 | 1036 | 450 | |
| 300 | 850 | 485 | 430 | 390 | 40 | 16-Φ30 | 1095 | 1125 | 1175 | 500 | |
| 4.0MPa | 50 | 230 | 160 | 125 | 100 | 20 | 4-Φ18 | 483 | 504 | 546 | 240 |
|
凸面法兰 RF DJ41Y-40L DJ41Y-40LC1 DJ41Y-40LC2 DJ41Y-40LC3 DJ41Y-40LC4 DJ41Y-40P DJ41Y-40R |
65 | 290 | 180 | 145 | 120 | 22 | 8-Φ18 | 499 | 530 | 551 | 280 |
| 80 | 310 | 195 | 160 | 135 | 22 | 8-Φ18 | 546 | 578 | 620 | 280 | |
| 100 | 350 | 230 | 190 | 160 | 24 | 8-Φ23 | 572 | 604 | 646 | 320 | |
| 125 | 400 | 270 | 220 | 188 | 28 | 8-Φ25 | 620 | 651 | 693 | 360 | |
| 150 | 480 | 300 | 250 | 218 | 30 | 8-Φ25 | 683 | 741 | 767 | 400 | |
| 200 | 600 | 375 | 320 | 282 | 38 | 12-Φ30 | 893 | 924 | 977 | 400 | |
| 250 | 730 | 445 | 385 | 345 | 42 | 12-Φ34 | 1004 | 1035 | 1088 | 450 | |
| 300 | 850 | 510 | 450 | 408 | 46 | 16-Φ34 | 1150 | 1181 | 1234 | 500 | |
声明:【DJ41Y低温截止阀】规格型号、结构尺寸由上海凯利科阀门有限公司提供,如何选择适用的DJ41Y低温截止阀产品,使之在工艺控制中安全可靠、经济适用,可致电我司销售部门及技术部门,我们将在最短的时间内为您解答! |