首页
公司介绍
新闻中心
组织机构
服务理念
售后服务
联系我们
产品中心
jtgk.png

产品中心

KHBF,KHMF法兰式高压球阀

您的位置:阀门 - 球阀 - KHBF,KHMF法兰式高压球阀 更新时间:2024-07-27 09:07:50
KHBF,KHMF法兰式高压球阀
    • 质量安全:压力、材质、密封等全方位检测确保质量过关!
    • 价格比较:在相同品质的情况下,厂里直销,更具有优势!
    • 交货快捷:常规产品现货供应,生产加工销售一条龙服务!
      上海凯利科阀门竭诚为您提供安全可靠的KHBF,KHMF法兰式高压球阀成套技术方案,以及售前选型报价,售后技术指导、安装、调试服务!

    • 产品描述
    • 在线询价
    • 技术咨询
    KHBF,KHMF法兰式高压球阀KHBF,KHMF法兰式高压球阀

    KHBF、KHMF法兰式高压球阀适用于液压系统和化工系统的各种管路上做为启闭用。开关迅速、方便,流体阻力小,是所有阀类中流体阻力最小的一种只要阀杆转动90°,球阀就完成了全开或全关动作,很容易实现快速启闭。阀杆密封可靠。球阀启闭时阀杆只作旋转运动,因此阀杆的填料密封不易被破坏,而且阀杆倒密封的密封力随着介质压力的增加而增大。适用介质:液压油、水一乙二醇、其它混合液体。

    产品名称: 法兰式高压球阀 产品型号: KHBF、KHMF
    公称通径: DN16~DN50 结构形式: 球形
    公称压力: 1.6Mpa~31.5Mpa~40.0Mpa 连接方式: 法兰式
    适用温度: -20~+100℃~+170℃ 驱动方式: 手动
    阀体材质: 铸钢、不锈钢 制造标准: 国标GB、德国DIN、美国API、ANSI
    适用介质: 水、油、气 生产厂家: 上海凯利科阀门有限公司

    产品说明

    KHBF、KHMF法兰式高压球阀适用于液压系统和化工系统的各种管路上做为启闭用。开关迅速、方便,流体阻力小,是所有阀类中流体阻力最小的一种只要阀杆转动90°,球阀就完成了全开或全关动作,很容易实现快速启闭。阀杆密封可靠。球阀启闭时阀杆只作旋转运动,因此阀杆的填料密封不易被破坏,而且阀杆倒密封的密封力随着介质压力的增加而增大。适用介质:液压油、水一乙二醇、其它混合液体。

    产品特点

    KHBF、KHMF法兰式高压球阀是我公司引进德国先进技术工艺,主要用于液压管路中控制油液的流通和截止,本型球阀具有流阻损失小,密封性能可靠,操作方便,外观精美等特点。 

    图形符号

     

    型号说明

     
    ① 系列代号:KHBF(KHMF)系列法兰式高压球阀
    ② 公称通径:16、20、25、32、40、50mm
    ③ 压力范围:40、63、100、160、250、315bar
    ④ 阀体材料:1-钢
    ⑤ 球体材料:1-钢
    ⑥ 工作温度:1、-25~+100℃、2、-30~+170℃
    ⑦ 其他密封:2-丁晴橡胶
    ⑧ 手柄形式:02-铝质直柄06-钢质曲柄09-不带手柄
    ⑨ 设计序号:由生产商定

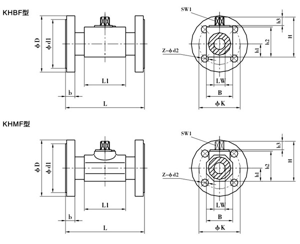
    外形结构图

     

    主要外形尺寸表

    略型号 压力范围 DN LW L L1 D d1 d2 K B b H h1 h2 h3 SW1 Z
    KHBF-016 10-40 16 15 130 48 95 45 14 65 38 16 62 19 45 11 9 4
    KHBF-016 63-160 105 14 75 20
    KHBF-016 250-315 130 18 90 26
    KHBF-020 10-40 20 20 150 60 105 58 14 75 48 18 75 25 57 11 12 4
    KHBF-025 10-40 25 25 160 65 115 68 14 85 57 18 82 28.5 64 11 12 4
    KHBF-025 63-160 140 18 100 24
    KHBF-025 250 150 22 105 28
    KHBF-025 315 160 22 115 34

     主要外形尺寸表

    简略型号 压力范围 DN LW L L1 D d1 d2 k B b H h1 h2 h3 SW1 Z
    KHMF-032 10-40 32 30 180 84 140 78 18 100 75 18 103 37.5 84 12 14 4
    KHMF-032 63-160 155 22 110 26
    KHMF-040 10-40 40 38 200 91 150 88 18 110 85 18 114 42.5 95 12 14 4
    KHMF-040 63-160 170 22 125 28
    KHMF-040 250 185 26 135 34
    KHMF-040 315 195 26 145 38
    KHMF-050 10-40 50 48 230 100 165 102 18 125 105 20 131.5 52.5 112.5 12 14 4
    KHMF-050 63 180 22 135 26
    KHMF-050 100-160 195 26 145 30
    KHMF-050 250 200 26 150 38 8
    KHMF-050 315 210 26 160 42

     主要外形尺寸表

    简略型号 压力范围 DN LW L L1 D d1 d2 k B b H h1 h2 h3 SW1 Z
    KHMF-032 10-40 32 30 130 84 140 78 18 100 75 18 103 37.5 84 12 17 4
    KHMF-040 40 38 140 91 150 88 110 85 18 114 42.5 95
    KHMF-050 50 48 150 100 165 102 125 105 20 131.5 52.5 112.5
     

    声明:【KHBF,KHMF法兰式高压球阀】规格型号、结构尺寸由上海凯利科阀门有限公司提供,如何选择适用的KHBF,KHMF法兰式高压球阀产品,使之在工艺控制中安全可靠、经济适用,可致电我司销售部门及技术部门,我们将在最短的时间内为您解答!

    Copyright ©2011-2022 上海凯利科阀门有限公司,版权所有。 沪ICP备11046016号-29 网站地图

    销售电话:021-31001158

    手机号码:13816746668 陈国辉/经理

    电子邮件:klkvalves@126.com@126.com

    主营产品:球阀,闸阀,蝶阀,截止阀,止回阀,调节阀

    本周热门:气动球阀气动蝶阀气动刀闸阀气动调节阀电动球阀电动蝶阀电动刀闸阀电动调节阀不锈钢球阀不锈钢闸阀不锈钢截止阀不锈钢止回阀不锈钢电磁阀高压电磁阀高压球阀波纹管截止阀

    官方网址:www.fm058.com